Journal of Textile Research ›› 2023, Vol. 44 ›› Issue (08): 41-49.doi: 10.13475/j.fzxb.20220302701

• Fiber Materials • Previous Articles     Next Articles

Preparation and properties of polylactic acid/electret melt-blown nonwovens

GU Yingshu1,2, ZHU Yanlong1,2, WANG Bin1,2, DONG Zhenfeng1,2, GU Xiaoxia1,2, YANG Changlan1,2, CUI Meng1,2, ZHANG Xiuqin1,2()   

  1. 1. Beijing Key Laboratory of Clothing Materials R&D and Assessment, Beijing Institute of Fashion Technology, Beijing 100029, China
    2. Beijing Engineering Research Center of Textile Nanofiber, Beijing Institute of Fashion Technology, Beijing 100029, China
  • Received:2022-03-07 Revised:2022-06-07 Online:2023-08-15 Published:2023-09-21

Abstract:

Objective At present, the problem of air pollution is becoming increasingly serious. Melt-blown nonwovens have the characteristics of fine fibers, high porosity, and small pore size, which can effectively filter out dust and ensure the health of the wearer. Most of the commercially available melt-blown nonwovens are made from polypropylene (PP) due to their excellent filtration performance, but their non-renewable and non-degradable nature of the materials themselves may lead to resource crises and environmental pollution issues. Therefore, the development of green and renewable melt-blown nonwovens is of great significance.

Method Different types of electrets and polylactic acid(PLA) were selected to prepare PLA/electret composites by melt blending and hot pressing, in order to obtain the best electret SiO2 for PLA. Next, the SiO2 was modified by silane coupling agent KH570 to reduce its agglomeration. As the last step, PLA/SiO2 melt-blown nonwovens were prepared by melt-blown spinning and high pressure in-situ electret technology, and charge storage capacity and air filtration performance of the samples were systematically investigated.

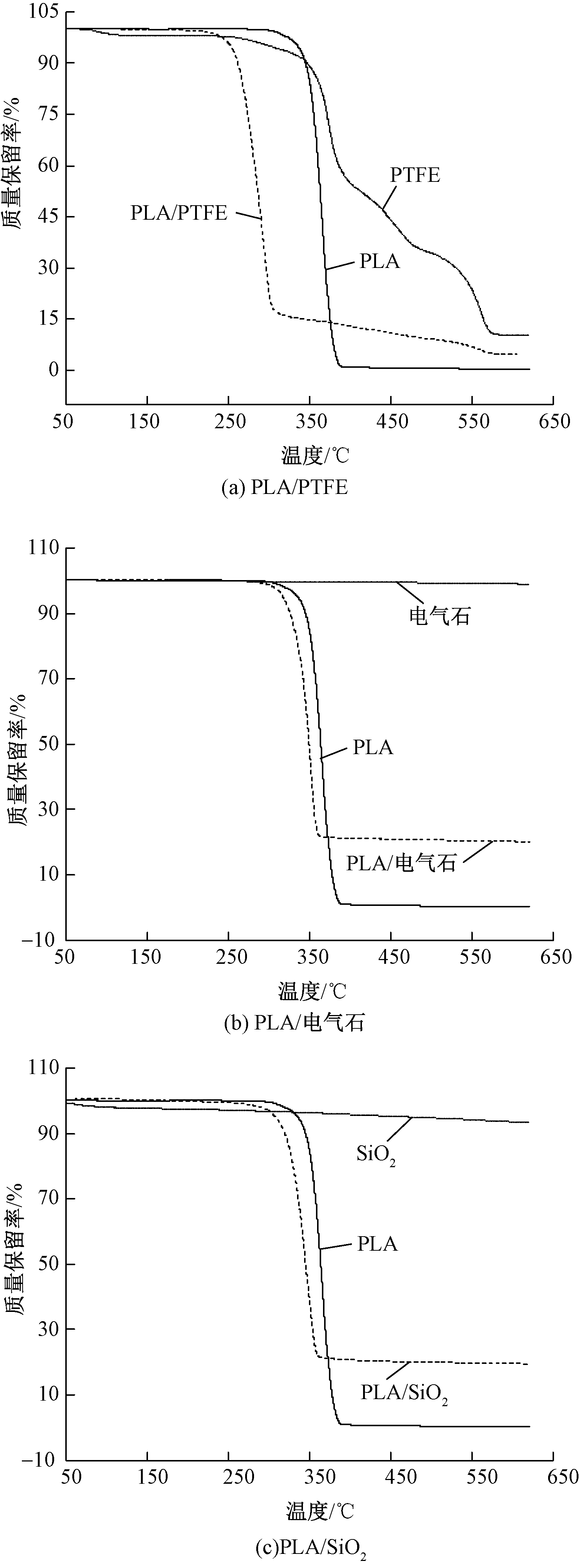
Result The PLA/electret composite membrane material was successfully prepared using the melt blending method. The PLA/SiO2 membrane material showed an increase in peak intensity at 1 109 cm-1, which is the symmetric stretching vibration peak of Si—O of SiO2, proving the successful composite(Fig.2). The starting thermal decomposition temperature of the PLA/polytetrafluoroethylene(PTFE) membrane material is reduced to around 240 ℃ and the starting thermal decomposition temperature of the PLA/ SiO2 membrane material is set at around 302 ℃, demonstrating that the addition of the electret SiO2 has little effect on the thermal stability of PLA(Fig.3). The electret significantly improves the charge storage capacity of the PLA membrane material, where the surface electrostatic charge is 8.154 kV for the pure PLA membrane material and 17.44 kV for the PLA/ SiO2 membrane material, an increment of up to 113.88%(Fig.3). The residual electrostatic charge on the surface of the PLA membrane material was 3.23 kV after 48 h, while the residual electrostatic charge on the surface of the PLA/ SiO2 membrane material was still as high as 6.34 kV. This demonstrates that the addition of a 1% mass fraction of SiO2 nanoparticles resulted in a better electret effect on the PLA membrane materials. In order to reduce the agglomeration of SiO2, the silane coupling agent KH570 was used to modify the SiO2. The modified SiO2-570 sample shows a C—H vibration peak at a wavelength of 2 930 cm-1 and a weak C=O stretching vibration peak at 1 720 cm-1, both of which are characteristic peaks of KH570 Both of them are characteristic peaks of KH570, which proves that KH570 was successfully grafted onto the SiO2 surface(Fig.5). The modified SiO2-570 nanoparticles are more uniformly dispersed in the PLA matrix, effectively reducing the agglomeration of SiO2(Fig.6). The air filtration efficiency of the PLA melt-blown nonwovens was only 37.5% at a gas flow rate of 32 L/min (Fig.8). The filtration performance of the PLA/SiO2-570 melt-blown nonwovens was superior, with a signifi-cant increase in filtration efficiency to 88.4% and a filtration resistance of only 6.2 Pa, making it more valuable for practical applications.

Conclusions Firstly, PLA/PTFE, PLA/tourmaline and PLA/SiO2 composite membrane materials were prepared by melt blending method. Among them, the electret SiO2 has less influence on the thermal stability of PLA, and the prepared composite membrane materials have a high surface charge and relatively slow charge decay. Secondly, in order to reduce the agglomeration of SiO2, the silane coupling agent KH570 was successfully grafted onto the SiO2 surface, and the SiO2-570 nanoparticles were more uniformly dispersed in the PLA matrix, significantly reducing the agglomeration of SiO2. Finally, the PLA/SiO2-570 melt-blown nonwovens prepared by melt-blown spinning processing and in situ electret technology has excellent filtration performance, with a significant increase in filtration efficiency to 88.4% and a filtration resistance of only 6.2 Pa. It has great potential for applications in personal protection and air filtration.

Key words: poly lactic acid, nano SiO2, electret, melt-blown nonwoven, air filtration

CLC Number: 

  • TQ316.67

Fig. 1

SEM images of three electrets. (a) PTFE; (b)Tourmaline; (c) Nano-SiO2"

Fig. 2

FT-IR spectra of PLA/electret membrane. (a) PLA/PTFE; (b) PLA/tourmaline;(c) PLA/nano-SiO2"

Fig. 3

TG curves of PLA/electret membrane. (a) PLA/PTFE; (b) PLA/tourmaline;(c) PLA/Nano-SiO2"

Fig. 4

Surface electrostatic quantity of PLA/electret film sample. (a) Comparison of different electrets; (b)Comparison of different content of SiO2 electrets"

Fig. 5

FT-IR spectra of SiO2 before and after modification"

Fig. 6

Cross section SEM images of PLA, PLA/SiO2 and PLA/SiO2-570 sample"

Fig. 7

SEM images of PLA melt blown nonwovens before and after electret"

Fig. 8

Filtration performance of melt blown nonwovens"

[1] 尚婷婷, 张昉, 张亚群. 室内空气污染现状及防治对策[J]. 广东化工, 2019, 46(23): 99,110.
SHANG Tingting, ZHANG Fang, ZHANG Yaqun. Air pollution and prevention of indoor environment[J]. Guangdong Chemical Industry, 2019, 46(23): 99,110.
[2] 陈海明, 董侠, 赵莹, 等. 废弃一次性医用口罩的回收利用与化学升级再造[J]. 高分子学报, 2020, 51(12): 1295-1306.
CHEN Haiming, DONG Xia, ZHAO Ying, et al. Recycling and chemical upcycling of waste disposable medical masks[J]. Acta Polymerica Sinica, 2020, 51(12): 1295-1306.
[3] 徐燕. 口罩用聚乳酸熔喷布的专利申请现状研究[J]. 化工管理, 2020(25):89-92.
XU Yan. Study on patent application status of polylactic acid melt blown cloth for mask[J]. Chemical Enterprise Management, 2020(25):89-92.
[4] 张煌忠. 熔喷非织造材料在空气过滤领域的技术发展研究[J]. 盐城工学院学报(自然科学版), 2015, 28(4): 56-60.
ZHANG Huangzhong. Research on the development of the technology of melt-blown nonwoven materials in the field of air filtratim[J]. Journal of Yancheng Institute of Technology (Natural Science Edition), 2015, 28(4): 56-60.
[5] 孟庆杰, 兰天, 李南, 等. 活性炭负载二氧化钛改性聚丙烯熔喷无纺布的制备及吸附性能[J]. 南京航空航天大学学报, 2019, 51(6): 857-863.
MENG Qingjie, LAN Tian, LI Nan, et al. Preparation and adsorption of titanium dioxide/activated carbon/polyproylene nonwovens by melt blown method[J]. Journal of Nanjing University of Aeronautics & Astronautics, 2019, 51(6): 857-863.
[6] 谷英姝, 汪滨, 董振峰, 等. 聚乳酸熔喷非织造材料用于空气过滤领域的研究进展[J]. 化工新型材料, 2021, 49(1): 1-5.
GU Yingshu, WANG Bin, DONG Zhenfeng, et al. Research progress on PLA melt-blown nonwoven applied in air filtration[J]. New Chemical Materials, 2021, 49(1): 1-5.
[7] 朱斐超, 韩建, 于斌, 等. 熔喷非织造用聚(3-羟基丁酸-co-3-羟基戊酸共聚酯)/聚乳酸双组分生物降解材料的可纺性能[J]. 纺织学报, 2016, 37(2):21-26.
ZHU Feichao, HAN Jian, YU Bin, et al. Study on spinnability of biodegradable poly(3-hydroxybutyrate-co-3-hydroxyvalerate)/poly(lactic acid) blends for. melt-blown nonwovens[J]. Journal of Textile Research, 2016, 37(2): 21-26.
[8] DZIERZKOWSKA E, SCISLOWSKA-CZARNECKA A, KUDZIN M, et al. Effects of process parameters on structure and properties of melt-blown poly(lactic acid) nonwovens for skin regeneration[J]. Journal of Fuctional Biomaterials, 2021, 12(1): 16-32.
[9] 刘亚, 程博闻, 周哲, 等. 聚乳酸熔喷非织造布的研制[J]. 纺织学报, 2007, 28(10): 49-53.
LIU Ya, CHENG Bowen, ZHOU Zhe, et al. Study on PLA meltblowns[J]. Journal of Textile Research, 2007, 28(10): 49-53.
[10] 刘亚. 熔喷/静电纺复合法聚乳酸非织造布的制备及过滤性能研究[D]. 天津: 天津大学, 2009: 36-63.
LIU Ya. Preparation and filtration properties of melt blown/electrospun polylactic acid nonwovens[D]. Tianjin:Tianjin University, 2009: 36-63.
[11] FENG J Y. Preparation and properties of poly(lactic acid) fiber meltblown non-woven disordered mats[J]. Materials Letters, 2017, 189: 180-183.
doi: 10.1016/j.matlet.2016.12.013
[12] 黄海超, 宋国林, 唐国翌, 等. 驻极体-增塑剂复合改性聚乳酸熔喷非织造材料的制备及性能[J]. 复合材料学报, 2019, 36(3): 563-571.
HUANG Haichao, SONG Guolin, TANG Guoyi, et al. Preparation and properties of nano-SiO2 electret/PLA composite meltblown nonwovens[J]. Acta Materiae Composite Sinica, 2019, 36(3): 563-571.
[13] 蔡诚, 唐国翌, 宋国林, 等. 纳米SiO2驻极体/聚乳酸复合熔喷非织造材料的制备及性能[J]. 复合材料学报, 2017, 34(3): 486-493.
CAI Cheng, TANG Guoyi, SONG Guolin, et al. Preparation and properties of nano-SiO2 electret/PLA composite meltblown nonwovens[J]. Acta Materiae Composite Sinica, 2017, 34(3): 486-493.
[14] 夏钟福. 聚合物驻极体气体和空气过滤材料在环境净化工程中的研究及进展[J]. 材料导报, 2011, 15(8): 57-58.
XIA Zhongfu. Development of Polymeric electret air/gas filter materials applied in environmental clean-up engineering[J]. Materials Reports, 2011, 15(8): 57-58.
[15] CHANA P, MANLIDA A, THAPANEE W. Effect of silica resources on the biodegradation behavior of poly (lactic acid) and chemical crosslinked poly (lactic acid) composites[J]. Polymer Testing, 2018, 71: 87-94.
doi: 10.1016/j.polymertesting.2018.08.026
[16] CAI Y M, LV J G, FENG J M. Spectra characterization of four kins of biodegradable plastics: poly (lactic acid), poly (butylenes adipate-co-terephthalate), poly (hydroxybutyrate-co-hydroxyvalerate) and poly (butylenes succinate) with FT-IR and Raman spectroscopy[J]. Journal of Polymers and the Environment, 2013, 21(1): 108-114.
doi: 10.1007/s10924-012-0534-2
[17] 刘荣仲, 刘俊松. 用红外光谱鉴定塑料成分[J]. 塑料科技, 2008, 36(6): 72-77.
LIU Rongzhong, LIU Junsong. Identification of plastic composition by IR spectra[J]. Plastics Science and Technology, 2008, 36(6): 72-77.
[18] 李芳芳. 电气石的性质及应用展望[J]. 现代矿业, 2007, 3: 10-13.
LI Fangfang. Property of tourmaline and application prospect[J]. Express Information of Mining Industry, 2007, 3: 10-13.
[19] 渠叶红, 柯勤飞, 靳向煜, 等. 熔喷聚乳酸非织造材料工艺与过滤性能研究[J]. 产业用纺织品, 2005, 23(5):19-22.
QU Yehong, KE Qinfei, JIN Xiangyu, et al. Study on the meltblown PLA nonwoven process and filtration property[J], Technical Textiles, 2005, 23(5): 19-22.
[20] 张云浩, 翟兰兰, 王彦, 等. 硅烷偶联剂KH-570表面改性纳米SiO2[J]. 材料科学与工程学报, 2012, 30(5): 752-756.
ZHANG Yunhao, ZHAI Lanlan, WANG Yan, et al. Surface modification of nano-SiO2 by silane coupling agent 3-(methacryloyloxy) propyltrimethoxysilane[J]. Journal of Materials Science and Engineering, 2012, 30(5): 752-756.
[21] 苏瑞彩, 李文芳, 彭继华, 等. 硅烷偶联剂KH570对纳米SiO2的表面改性及其分散稳定性[J]. 化工进展, 2009, 28(9): 1596-1599.
SU Ruicai, LI Wenfang, PENG Jihua, et al. Surface modification of nano-sized SiO2 with silane coupling agent and its dispersion[J]. Chemical Industry and Engineering Progress, 2009, 28(9): 1596-1599.
[22] 宋志勇, 李乃状, 张蕾, 等. 改性二氧化硅对SiO2/PLA复合膜性能的影响[J]. 包装工程, 2020, 41(15): 142-148.
SONG Zhiyong, LI Naizhuang, ZHANG Lei, et al. Effect of modified silica on properties of SiO2/PLA composite films[J]. Packaging Engineering, 2020, 41(15): 142-148.
[23] 王伟山, 易红玲, 郑柏存, 等. 甲基丙烯酸甲酯对纳米SiO2的表面接枝聚合改性研究[J]. 化工新型材料, 2009, 37(9): 83-85.
WANG Weishan, YI Hongling, ZHENG Bocun, et al. Surface grafting modification of nano-SiO2 by polymerization[J]. New Chemical Materials, 2009, 37(9): 83-85.
[24] 毋伟, 陈建峰, 屈一新. 硅烷偶联剂的种类与结构对二氧化硅表面聚合物接枝改性的影响[J]. 硅酸盐学报, 2004, (5): 570-575.
WU Wei, CHEN Jianfeng, QU Yixin. Influence of the kinds and structure of silane coupling agent on polymer grafting modification of the ultrafine silicon dioxide surface[J]. Journal of the Chinese Ceramic Society, 2004, (5): 570-575.
[25] JI J H, BAE G N, KANG S H, et al. Effect of particle loading on the collection performance of an electret cabin air filter for submicron aerosols[J]. Journal of Aerosol Science, 2003, 34(11): 1493-1504.
doi: 10.1016/S0021-8502(03)00103-4
[26] 侯冠一, 武文杰, 万海肖, 等. 口罩聚丙烯熔喷布的静电机理及其影响因素的研究进展[J]. 高分子通报, 2020, 8(1): 256-277.
HOU Guanyi, WU Wenjie, WAN Haixiao, et al. Research progress of static-electricity mechanism and influencing factors of polypropylene melt-blown nonwovens in mask[J]. Polymer Bulletin, 2020, 8(1): 256-277.
[1] YANG Qi, LIU Gaohui, HUANG Qiwei, HU Rui, DING Bin, YU Jianyong, WANG Xianfeng. Study on correlation between charge storage and filtration performance of melt-blown polylactic acid/polyvinylidene fluoride electret air filter materials [J]. Journal of Textile Research, 2024, 45(01): 12-22.
[2] LIU Jinxin, ZHOU Yuxuan, ZHU Borong, WU Haibo, ZHANG Keqin. Properties and filtration mechanism of thermal bonding polyethylene/polypropylene bicomponent spunbond nonwovens [J]. Journal of Textile Research, 2024, 45(01): 23-29.
[3] CHEN Jiangping, GUO Chaoyang, ZHANG Qijun, WU Renxiang, ZHONG Lubin, ZHENG Yuming. Preparation and air filtration performance of electrospun polyamide 6/polystyrene composite membranes [J]. Journal of Textile Research, 2024, 45(01): 56-64.
[4] MENG Na, WANG Xianfeng, LI Zhaoling, YU Jianyong, DING Bin. Research progress in electret technology for melt-blown nonwovens [J]. Journal of Textile Research, 2023, 44(12): 225-232.
[5] SUN Hui, CUI Xiaogang, PENG Siwei, FENG Jiangli, YU Bin. Preparation of polylactic acid/magnetic metal organic frame material composite melt-blown fabrics and air filtration performance [J]. Journal of Textile Research, 2023, 44(12): 26-34.
[6] WANG Xixian, GUO Tianguang, WANG Dengke, NIU Shuai, JIA Lin. Preparation and long-lasting performance of polyacrylonitrile/Ag composite nanofiber membrane for high efficiency filtration [J]. Journal of Textile Research, 2023, 44(11): 27-35.
[7] SHI Jingya, WANG Huijia, YI Yuqing, LI Ni. Preparation and filtration of polyurethane/polyvinyl butyral composite nanofiber membrane [J]. Journal of Textile Research, 2023, 44(08): 26-33.
[8] CHEN Meng, HE Ruidong, CHENG Yixin, LI Jiwei, NING Xin, WANG Na. Preparation and properties of Ag/Zn modified polystyrene/polyvinylidene fluoride composite fibrous membranes by magnetron sputtering [J]. Journal of Textile Research, 2023, 44(03): 19-27.
[9] YANG Xiaodong, YU Bin, SUN Hui, ZHU Feichao, LIU Peng. Preparation and filtration properties of polyethylene trifluoroethylene melt-blown nonwovens [J]. Journal of Textile Research, 2023, 44(02): 19-26.
[10] ZHOU Wen, YU Jianyong, ZHANG Shichao, DING Bin. Preparation of green-solvent-based polyamide nanofiber membrane and its air filtration performance [J]. Journal of Textile Research, 2023, 44(01): 56-63.
[11] WANG Hongjie, YAO Lan, WANG He, ZHANG Zhong. Preparation and electrochemical performances of melt-blown nonwovens electrode from medical mask [J]. Journal of Textile Research, 2022, 43(12): 22-28.
[12] WU Yanjin, WANG Jiang, WANG Hong. Preparation and charging characteristics analysis of hydro charging polypropylene melt-blown nonwovens [J]. Journal of Textile Research, 2022, 43(12): 29-34.
[13] YANG Jizhen, LIU Qiangfei, HE Ruidong, WU Shaohua, HE Hongwei, NING Xin, ZHOU Rong, DONG Xianglin, QI Guishan. Research progress in high efficiency and low resistance air filter materials [J]. Journal of Textile Research, 2022, 43(10): 209-215.
[14] ZHAO Jiaming, SUN Hui, YU Bin, YANG Xiaodong. Preparation of CuO/polypropylene/ethylene-octene copolymer composite melt-blown nonwovens and their oil absorption properties [J]. Journal of Textile Research, 2022, 43(02): 89-97.
[15] JIA Lin, WANG Xixian, LI Huanyu, ZHANG Haixia, QIN Xiaohong. Preparation and properties of polyacrylonitrile/BaTiO3 composite nanofibrous filter membrane [J]. Journal of Textile Research, 2021, 42(12): 34-41.
Viewed
Full text


Abstract

Cited

  Shared   
  Discussed   
No Suggested Reading articles found!