Journal of Textile Research ›› 2022, Vol. 43 ›› Issue (09): 11-20.doi: 10.13475/j.fzxb.20220407210

• Invited Column: Textile Intelligent Manufacturing and Robotics • Previous Articles     Next Articles

Key technologies for full-process robotic automatic production in ring spinning

ZHENG Xiaohu1,2, LIU Zhenghao3, CHEN Feng4, LIU Zhifeng4, WANG Junliang1,2, HOU Xi5, DING Siyi1,2()   

  1. 1. Institute of Artificial Intelligence, Donghua University, Shanghai 201620, China
    2. Research Center of Shanghai Industrial Big Data and Intelligent System, Shanghai 201620, China
    3. College of Mechanical Engineering,Donghua University, Shanghai 201620, China
    4. Jingwei Textile Machinery Co., Ltd., Beijing 100176, China
    5. China Textile Machinery Association, Beijing 100028, China
  • Received:2022-04-22 Revised:2022-06-12 Online:2022-09-15 Published:2022-09-26
  • Contact: DING Siyi E-mail:dingsiy@dhu.edu.cn

Abstract:

Aiming at deep integration of ring spinning full-process automation with industrial robots, a simulation optimization method for ring spinning production line layout was proposed, and a production line collaborative scheduling model was constructed. The application scenarios of key process robots, such as cotton distribution and bale discharge, automatic feeding of cotton rolls by comber and appearance inspection of barrel yarn, were presented in details. An information integrated management and control strategy based on information interconnection technology was proposed, and an intelligent management and control system integrating process, production planning, quality, equipment and logistics was established. The whole process intelligent management mode of ring spinning production line was formed, and the spinning quality traceability based on the yarn tube was achieved. The results show that the task scheduling method effectively improves the production efficiency of related processes. The designed spinning process robot has filled in the process breakpoints such as cotton distribution and bale discharge. After the application of relevant technologies, the comprehensive production efficiency of the enterprise demonstrated an increase of 22.65% and an operating cost reduction of 40%. This technology has been taken as a typical case of intelligent transformation in the spinning industry and is promoted to the industry.

Key words: ring spinning, robot, automatic production line, intelligent control system, industrial automation, production efficiency

CLC Number: 

  • TS112.7

Fig.1

Full-process production line configuration of ring spinning"

Fig.2

Technical route of multi-batch task scheduling method"

Tab.1

Fabric specification parameters"

符号 含义
I 工序级数
i 第几级工序
Zi i级工序向下一级工序输出的产品类型数
zi i级工序上的第z种产品,当i=0时表示起始工序
N z I 最终产品类型z的数量
Piz i级工序的z产品线拥有的工序数量
piz i级工序z产品线的第p个工序
R p i z p ' i ' z ' + 工序piz加工1个批次所需的来自工序P'i'z'的产品数量
R p i z - 工序piz的1个加工批次陆续产出的产品数量
L p i z 工序piz的加工总批次
l p i z 工序piz的第l个加工批次
J p i z p ' i ' z ' + 工序piz加工所需p'i'z'工序的产品总数
j p i z p ' i ' z ' + 工序piz加工所需P'i'z'工序的第j个产品
J p i z - 工序piz加工的产/成品总数
j p i z - 工序piz的第j个产/成品
K p i z 工序piz的加工设备总数
k p i z 工序piz中的第k台加工设备
V AGV总数
v v辆AGV
t p i z 工序piz上的加工设备加工单位原材料所需时间

Tab.2

Definition of decision variables"

符号 含义
T j p i z k i级工序向下一级工序输出的产品类型数
C j p i z p ' i ' z ' 原料 j p i z p i ' z ' +运送至工序piz的运输任务
x C j p i z p ' i ' z ' v x C j p i z p ' i ' z ' v= 1 , C j p i z p ' i ' z ' v 0 ,
y k l p i z y k l p i z= 1 , p i z l k l p i z 0 ,
u j l p i z p ' i ' z ' u j l p i z p ' i ' z '= 1 , j p i z p ' i ' z ' + l 0 ,
w j l p i z w j l p i z= 1 , j p i z - l 0 ,

Fig.3

Architecture diagram of system with cotton steaks"

Fig.4

Warehouse management and scheduling system"

Fig.5

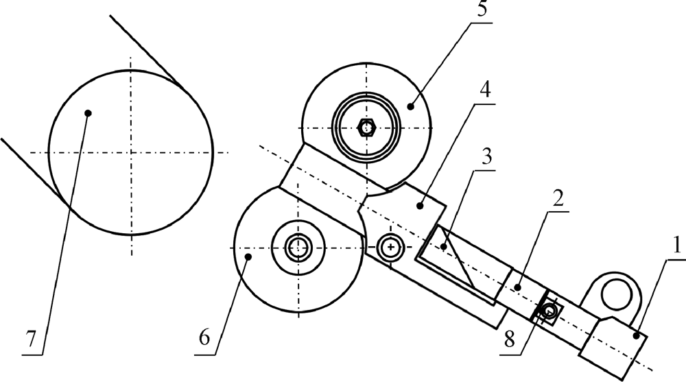
Automatic feeding cotton roll robot layout of combing machine"

Fig.6

Operating principle of automatic evacuation tube. (a) Schematic diagram of evacuation pipe action; (b) Schematic diagram of feeding structure"

Fig.7

Principle of automatic cotton sliver joint. (a) Working principle of end effector; (b) Schematic diagram of automatic cotton sliver joint"

Fig.8

Drawing zone blockage prevention device structure"

Fig.9

Structure of barrel yarn detection system"

Fig.10

Image of main barrel yarn defect"

Fig.11

Flow chart of yarn defect detection algorithm"

Fig.12

Information interconnection principle"

Fig.13

Topology of spinning quality traceability technology"

Fig.14

Structural diagram of management system of full-process intelligent spinning factory"

[1] 张苏道, 薛文良. 传统棉纺企业的智能化改造建议[J]. 棉纺织技术, 2022, 50(1): 4-8.
ZHANG Sudao, XUE Wenliang. Suggestion on intelligent modification of traditional cotton spinning enterprise[J]. Cotton Textile Technology, 2022, 50(1): 4-8.
[2] 杨华明, 齐泽京, 梅顺齐. 全流程数字化智能化纺纱装备的开发与实践[J]. 纺织科学研究, 2021(6): 38-40.
YANG Huaming, QI Zejing, MEI Shunqi. Development and practice of whole process digital and intelligent spinning equipment[J]. Textile Science Research, 2021 (6): 38-40.
[3] HALEEM Noman, BUSTREO Matteo, BUE Alessio-Del. A computer vision based online quality control system for textile yarns[J]. Computers in Industry, 2021. DOI: 10.1016/j.compind.2021.103550.
doi: 10.1016/j.compind.2021.103550
[4] 牟新刚, 蔡逸超, 周晓, 等. 基于机器视觉的筒子纱缺陷在线检测系统[J]. 纺织学报, 2018, 39(1): 139-145.
MOU Xin'gang, CAI Yichao, ZHOU Xiao, et al. On-line yarn cone defects detection system based on machine vision[J]. Journal of Textile Research, 2018, 39(1): 139-145.
[5] XU Fei, XU Na. Design of control system for industrial spinning production line[C]//4th IEEE International Conference on Automation, Electronics and Electrical Engineering. Shenyang: AUTEEE, 2021: 195-199.
[6] 郑小虎, 鲍劲松, 马清文, 等. 基于模拟退火遗传算法的纺纱车间调度系统[J]. 纺织学报, 2020, 41(6): 36-41.
ZHENG Xiaohu, BAO Jinsong, MA Qingwen, et al. Spinning workshop collaborative scheduling method based on simulated annealing genetic algorithm[J]. Journal of Textile Research, 2020, 41(6): 36-41.
[7] FAROOQ Basit, BAO Jinsong, MA Qingwen. Flow-shop predictive modeling for multi-automated guided vehicles scheduling in smart spinning cyber-physical production systems[J]. Electronics (Switzerland), 2020. DOI: 10.3390/electronics9050799.
doi: 10.3390/electronics9050799
[8] FAROOQ Basit, BAO Jinsong, MA Qingwen. Flow-shop path planning for multi-automated guided vehicles in intelligent textile spinning cyber-physical production systems dynamic environment[J]. Journal of Manufacturing Systems, 2021, 59(1): 98-116.
doi: 10.1016/j.jmsy.2021.01.009
[9] 万由顺, 卫江, 桂长明, 等. 全流程智能化纺纱技术创新点及应用效果[J]. 棉纺织技术, 2020, 48(1): 28-33.
WAN Youshun, WEI Jiang, GUI Changming, et al. Innovation point and application effect of whole process intelligent spinning technology[J]. Cotton Textile Technology, 2020, 48 (1): 28-33.
[10] 殷士勇, 鲍劲松, 唐仕喜, 等. 环锭纺纱信息物理生产系统建模方法[J]. 纺织学报, 2021, 42(2): 65-73.
YIN Shiyong, BAO Jinsong, TANG Shixi, et al. Modeling method of cyber physical production system for ring spinning[J]. Journal of Textile Research, 2021, 42(2): 65-73.
doi: 10.1177/004051757204200112
[11] 殷士勇, 鲍劲松, 孙学民, 等. 基于信息物理系统的环锭纺纱智能车间温度闭环精准控制方法[J]. 纺织学报, 2019, 40(2): 159-165.
YIN Shiyong, BAO Jinsong, SUN Xuemin, et al. Method of temperature close-loop precision control based on cyber-physical systems for intelligent workshop of ring spinning[J]. Journal of Textile Research, 2019, 40(2): 159-165.
[12] YIN Shiyong, BAO Jinsong, ZHANG Jie, et al. Real-time task processing method based on edge computing for spinning CPS[J]. Frontiers of Mechanical Engineering, 2019, 14 (3): 320-331.
doi: 10.1007/s11465-019-0542-1
[13] 郑小虎, 张洁. 数字孪生技术在纺织智能工厂中的应用探索[J]. 纺织导报, 2019(3): 37-41.
ZHENG Xiaohu, ZHANG Jie. Application of digital twin technology in textile intelligent factory[J]. China Textile Leader, 2019 (3): 37-41.
[1] ZHANG Jie, XU Chuqiao, WANG Junliang, ZHENG Xiaohu. Advancement in data-driven intelligent control system for roboticized textile production [J]. Journal of Textile Research, 2022, 43(09): 1-10.
[2] WU Le, ZHANG Qian, YANG Wanran, XU Zhaoyue, WANG Weiguan, HOU Xi. Research on operation-maintenance-patrol-inspection system of yarn package dyeing latch locking robot based on augmented reality technology [J]. Journal of Textile Research, 2022, 43(09): 34-40.
[3] GUO Mingrui, GAO Weidong. Method and characteristics of section colored slub yarns spun by two-channel ring spinning based on single-zone drafting [J]. Journal of Textile Research, 2022, 43(08): 21-26.
[4] TU Jiajia, SUN Lei, MAO Huimin, DAI Ning, ZHU Wanzhen, SHI Weimin. Automatic bobbin changing technology for circular weft knitting machines [J]. Journal of Textile Research, 2022, 43(07): 178-185.
[5] MO Shuai, ZHOU Changpeng, LI Xu, YANG Zhenning, LIU Huihua, GAO Hanjun. Research on integrated design method of robot intelligent joint drive and control structure [J]. Journal of Textile Research, 2022, 43(03): 160-167.
[6] WANG Xiaohua, WANG Yuhe, ZHANG Lei, WANG Wenjie. Force and position fuzzy impedance control of a sewing robot [J]. Journal of Textile Research, 2021, 42(11): 173-178.
[7] NI Jie, YANG Jianping, YU Chongwen. Effect of ratio of strands twist factor to single yarn twist factor on properties of viscose plied yarns [J]. Journal of Textile Research, 2021, 42(05): 46-50.
[8] WU Liubo, LI Xinrong, DU Jinli. Research progress of motion trajectory planning of sewing robot based on contour extraction [J]. Journal of Textile Research, 2021, 42(04): 191-200.
[9] LIU Lidong, LI Xinrong, LIU Hanbang, LI Dandan. Electrostatic adsorption model based on characteristics of weft knitted fabrics [J]. Journal of Textile Research, 2021, 42(03): 161-168.
[10] YIN Shiyong, BAO Jinsong, TANG Shixi, YANG Yun. Modeling method of cyber physical production system for ring spinning [J]. Journal of Textile Research, 2021, 42(02): 65-73.
[11] ZHANG Wenchang, SHAN Zhongde, LU Ying. Fast location of yarn-bars on yarn-cage based on machine vision [J]. Journal of Textile Research, 2020, 41(12): 137-143.
[12] SHEN Jinzhu, ZHAO Xiaolu, ZHANG Fan, YU Qing, SU Junqiang. Design and ergonomic evaluation of flexible rehabilitation gloves [J]. Journal of Textile Research, 2020, 41(09): 119-127.
[13] LI Xun, NAN Kaikai, ZHAO Zhengfan, WANG Xiaohua, JING Junfeng. Task allocation of handling robot in textile workshop based on multi-agent game theory [J]. Journal of Textile Research, 2020, 41(07): 78-87.
[14] ZHANG Tingting, XUE Yuan, HE Yudong, LIU Yuexing, ZHANG Guoqing. Construction of Kubelka-Munk double-constant color matching model for ring digital yarn color prediction [J]. Journal of Textile Research, 2020, 41(01): 50-55.
[15] ZHOU Hu, LIU Tao, GAO Jinjie, ZHOU Qiang, LUO Binhong, YOU Zheng, SU Bingwang, BA La. Planning of trajectory and optimization of speed control of hand-made tufting machine [J]. Journal of Textile Research, 2019, 40(10): 177-182.
Viewed
Full text


Abstract

Cited

  Shared   
  Discussed   
No Suggested Reading articles found!