Journal of Textile Research ›› 2023, Vol. 44 ›› Issue (11): 61-66.doi: 10.13475/j.fzxb.20220706801

• Textile Engineering • Previous Articles     Next Articles

Preparation and properties of special basalt sewing threads

LUO Chunxu1, GONG Haoran1, WU Minyong2, HUANG Cong3, LIU Keshuai1()   

  1. 1. State Key Laboratory of New Textile Materials and Advanced Processing Technologies, Wuhan Textile University, Wuhan, Hubei 430200, China
    2. Huierjie New Material Technology Co., Ltd., Xiangyang, Hubei 441102, China
    3. China Aerospace Science and Industry Corporation Space Engineering General Department, Beijing 100854, China
  • Received:2022-07-19 Revised:2023-02-13 Online:2023-11-15 Published:2023-12-25

Abstract:

Objective As one of the most widely used inorganic fiber, basalt fiber has the advantage of high strength, high modulus, excellent chemical corrosion resistance and anti-atomic oxygen properties. Thus,it can be used as a high-temperature resistant sewing thread material in aviation and military industries. However, its high brittleness and poor-wear resistance strongly restrict the processibility and final application of basalt fiber. In order to prepare basalt fiber based high-performance sewing threads, polyamide filaments were introduced to incorporate with basalt fiber for fabricating composites yarns.

Method Using a hollow spindle covering spinning mechanism, the polyamide filament yarn was used as the sheath to coat the double-stranded basalt filament yarn in both directions. In this case, the basalt core yarn was arranged vertically in the coating yarn and was coated by the outer polyamide filament. The outer coating yarn not only contributed to the strength but also provided strong wear-resistance, laying the foundation for the preparation of excellent sewing threads with both flexibility and high strength properties.

Results The overall strength of all five different double-coated yarns was increased over the core basalt yarn by about 23% to 29%. The basalt core yarn was axially arranged in the composite yarn retaining the core yarn strength, while the outer coating yarn also contributed to the strength resulting in enhanced strength of the composite yarn. The breaking force maximized when the wrapping twist was 650 twists/m (Tab. 2). At this twist, the yarn exhibited the highest breaking elongation, indicating that the yarn has good flexibility. When the twist increased to 750 twists/m, the breaking strength of the yarn decreased sharply by 3.20 cN/tex. The strength variations of three different yarn densities were compared by selecting the optimal strength at 650 twists/m (Tab. 3). It showed that the higher the density of the composite yarn, the higher the strength of the yarn. The coated yarn of 16.7 tex in this research had the highest break strength. The variation of twist of the composite yarn showed that the increase of twist would lead to the increase of coating density (Fig. 3). The three-dimensional microscopic fracture morphology indicated that the surface core yarns showed different magnitudes of protrusion at the wrapping spacing, and the core yarns broke into splits after a fracture. The results of the wear-resistance tests shown that at 650 twists/m the yarn has the smallest coefficient of variation (Tab. 4). The core yarn was protected by the sheath, and the low-twist sheath yarn also demonstrated strong wear-resistance in the test.

Conclusion As the twist increases, the composite yarn strength firstly increases and then decreases, and the higher the density of the outer yarn, the higher the yarn strength. The spiral coating structure of the outer yarn provides axial force in the radial direction and increases the clamping force. Continuously increasing the twist, the angle between the two-way sheath increases as well, causing smaller spacing between coating sheath strands, higher yarn density, but lower axial strength of the composite yarn. Further increase in twist could lead to lower strength because the core yarn can be damaged by too tight hold. The degree of wear-resistance tends to weaken and then increase with an increasing twist. At lower twist levels, the polyamide filament spacing is relatively long and the number of abrasion rollers rubbing against the polyamide filament increases. After increasing the twist degree, the pilling phenomenon tends to occur when grinding, and the number of grinding breaks decreases. Continuously increasing the yarn wrapping tightness makes it hold stronger, and the wear-resistance will gradually increase.

Key words: basalt filament, coated yarn, hollow spindle, twist, breaking force, polyamide filament

CLC Number: 

  • TS104.1

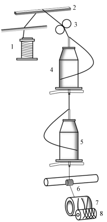
Fig. 1

Structure diagram of coating spinning equipment"

Fig. 2

Theoretical model schematic diagram of coated yarn"

Tab. 1

Tensile mechanical properties test indexes of polyamide filament"

长丝编号 线密度/tex 断裂强力/N 断裂伸长率/%
1# 5.6 3.48 48.62
2# 11.1 7.46 59.88
3# 16.7 10.99 69.46

Tab. 2

Tensile test result of coated yarn with different twists"

捻度/
(捻·
m-1)
线密
度/tex
断裂
位移/
mm
断裂
强力/
N
断裂
强度/
(cN·tex-1)
断裂
强力
CV值/%
断裂伸
长率/%
350 302.0 7.25 131.77 43.63 4.07 2.90
450 304.7 7.13 135.78 44.56 4.53 2.85
550 315.0 7.05 141.05 44.78 5.81 2.82
650 318.0 7.43 142.55 44.83 2.73 2.97
750 328.7 7.16 136.85 41.63 5.88 2.86

Tab. 3

Influence of outer yarn density on mechanical properties of coated yarn"

外包覆纱
线密度/
tex
包覆纱
线密度/
tex
断裂
位移/
mm
断裂
强力/
N
断裂
强度/
(cN·tex-1)
断裂强
力CV
值/%
断裂伸
长率/%
5.6 257.2 6.53 124.34 48.34 5.90 2.61
11.1 281.9 6.81 135.24 47.97 6.48 2.72
16.7 318.0 7.43 142.55 44.83 2.73 2.97

Fig. 3

Morphologies of coated yarns with different twists before stretching"

Fig. 4

Core yarn protrusion when part of partially coated yarn breaks. (a)Unilateral fracture protrusion effect; (b)Biateral fracture protrusion effect"

Fig. 5

Fibrillated fracture morphologies of partially coated yarn. (a)Cross-section; (b)Fracture section"

Fig. 6

Wear-resistance test of coated yarns with different twists"

Tab. 4

Wear-resisting test results of coated yarn of different twists"

捻度/
(捻·m-1)
摩擦次数 变异
系数/%
最大值 最小值 平均值
350 272 184 233 4.45
450 235 167 201 3.48
550 210 138 177 3.82
650 198 164 179 1.73
750 255 199 224 3.04
[1] 赵明良, 唐佃花. 玄武岩连续纤维的性能及其在复合材料中应用[J]. 现代纺织技术, 2009, 17(2):54-55, 61.
ZHAO Mingliang, TANG Dianhua. Properties of basalt continuous fiber and its application in composite materials[J]. Advanced Textile Technology, 2009, 17(2): 54-55, 61.
[2] 刘宇峰, 李同起, 冯志海, 等. 薄层化碳布缝合碳/碳复合材料制备与性能[J]. 复合材料学报, 2021, 38(4): 1210-1222.
LIU Yufeng, LI Tongqi, FENG Zhihai, et al. Preparation and properties of spreading carbon cloth stitched C/C composites[J]. Acta Materiae Compositae Sinica, 2021, 38(4): 1210-1222.
[3] 申宏旋. 缝合线上浆对缝合复合材料低速冲击性能的影响[D]. 天津: 天津工业大学, 2018:126.
SHEN Hongxuan. Effect of sutures sizing on low speed impact properties of sutured composites[D]. Tianjin: Tiangong University, 2018:126.
[4] 严涛海. 纳米纤维包覆纱线外包包缠纱及其包缠机理[J]. 东华大学学报(自然科学版), 2021, 47(2):40-45.
YAN Taohai. Nanofibers and filament composite wrapped yarn and its wrapping mechanism[J]. Journal of Donghua University(Natural Science), 2021, 47(2):40-45.
[5] 李保荣, 朱乐乐, 王军庆, 等. 包覆纺纱技术发展现状及存在的问题[J]. 纺织科技进展, 2020, 41(8):8-11.
LI Baorong, ZHU Lele, WANG Junqing, et al. Development, present situation and existing problems of coating spinning technology[J]. Progress in Textile Science & Technology, 2020, 41(8):8-11.
[6] 王子新, 高守武, 韩光亭. 包覆工艺对亚麻/锦纶包覆纱针织物耐磨性能的影响[J]. 山东纺织科技, 2015, 56(2):5-7.
WANG Zixin, GAO Shouwu, HAN Guangting. Effect of coating technology on wear resistance of linen/nylon coated knitted fabric[J]. Shandong Textile Science & Technology, 2015, 56(2):5-7.
[7] 李杜, 陈清清, 张玲丽, 等. 聚酰胺纤维芳纶1414包覆纱的拉伸性能探讨[J]. 棉纺织技术, 2021, 49(9): 60-63.
LI Du, CHEN Qingqing, ZHANG Lingli, et al. Discussion on tensile property of polyamide fiber aramid 1414 covered yarn[J]. Cotton Textile Tchnology, 2021, 49(9):60-63.
[8] 徐颖. 高强耐磨罗布包覆纺纱工艺及其织物研究[D]. 青岛: 青岛大学, 2007:54.
XU Ying. Research on high-strength and wear-resisting apocynum venetum wrapped-spun process and fabric[D]. Qingdao: Qingdao University, 2007:54.
[9] 敖利民, 唐雯. 空心锭包覆纺纱的顺向包缠作用特征[J]. 纺织学报, 2021, 42(11):39-45.
AO Limin, TANG Wen. Characteristics of forward wrapping of hollow spindle covered spinning[J]. Journal of Textile Research, 2021, 42(11):39-45.
[10] 王涛. 精梳棉/罗布麻包覆纱的开发及其性能研究[D]. 青岛: 青岛大学, 2015:15-16.
WANG Tao. Development and property research of combed cotton/apocynum venetum wrapped yarn[D]. Qingdao: Qingdao University, 2015:15-16.
[11] 敖利民, 唐雯, 王爱林. 亚麻/有色涤纶长丝包缠复合纱的外观与性能[J]. 纺织学报, 2019, 40(8):40-47.
AO Limin, TANG Wen, WANG Ailin. Appearance and performance of linen/colored polyester wrapping composite yarn[J]. Journal of Textile Research, 2019, 40(8):40-47.
[12] 王韬. 高性能纤维拉伸性能测试影响因素研究[J]. 中国纤检, 2022, 41(5):75-78.
WANG Tao. Study on influencing factors of tensile properties of high performance fibers[J]. China Fiber Inspection, 2022, 41(5): 75-78.
[13] 蔡光明, 于伟东. 基于定点握持弯曲疲劳的高性能纤维弯曲疲劳性能表征[J]. 河南工程学院学报(自然科学版), 2013, 25(1):1-5.
CAI Guangming, YU Weidong. Characterization of bending fatigue properties of high performance fibers based on fixed-point grip bending fatigue[J]. Journal of Henan University of Engineering(Natural Science Edition), 2013, 25(1):1-5.
[1] JIA Bingfan, AO Limin, TANG Wen, ZHENG Yuansheng, SHANG Shanshan. Processing of wool yarn/polyamide filament covered yarns and their properties and applications [J]. Journal of Textile Research, 2023, 44(12): 58-66.
[2] LI Jiugang, JIN Xinpeng, DENG Wentao, QIN Xue, ZHANG He, HUANG Cong, LIU Keshuai. Influence of number and twist of alumina yarn on its tenacity [J]. Journal of Textile Research, 2023, 44(10): 48-52.
[3] ZUO Qi, WU Huawei, WANG Chunhong, DU Juanjuan. Effect of yarn structure on tensile properties of ramie staple yarn reinforced composites [J]. Journal of Textile Research, 2023, 44(10): 81-89.
[4] AO Limin, TANG Wen. Influences of twist and twist direction arrangement on properties of double covered yarns [J]. Journal of Textile Research, 2023, 44(07): 50-56.
[5] LIU Shuai, GUO Chenyu, CHEN Hewen, YANG Ruihua. Model analysis on structure of ring spun Sirofil wrapped yarn and its property optimization [J]. Journal of Textile Research, 2023, 44(04): 63-69.
[6] LI Long, WU Lei, LIN Siling. Influence of yarn twist on properties of cotton/spandex/silver wire core spun yarns [J]. Journal of Textile Research, 2023, 44(01): 100-105.
[7] YU Xuezhi, ZHANG Mingguang, CAO Jipeng, ZHANG Yue, WANG Xiaoyan. Influence of twist on quality indexes of polyamide/cotton blended yarns [J]. Journal of Textile Research, 2023, 44(01): 106-111.
[8] AO Limin, SU Juan, TANG Wen. Influencing factors on wrapping twist and twist distribution in hollow spindle spinning [J]. Journal of Textile Research, 2022, 43(12): 54-61.
[9] AO Limin, LOU Huan, TANG Wen. Residual twist of core yarn and its application in hollow spindle cover spinning [J]. Journal of Textile Research, 2022, 43(07): 41-46.
[10] YAO Mingyuan, LIU Ningjuan, WANG Jianing, XU Fujun, LIU Wei. Electrothermal properties of functionalization carbon nanotube composite films and films twisted yarns [J]. Journal of Textile Research, 2022, 43(05): 86-91.
[11] ZHOU Xiaoya, MA Dinghai, HU Chengye, HONG Jianhan, LIU Yongkun, HAN Xiao, YAN Tao. Continuous preparation and application of polyester/polyamide 6 nanofiber coated yarns [J]. Journal of Textile Research, 2022, 43(02): 110-115.
[12] AO Limin, TANG Wen. Characteristics of forward wrapping of hollow spindle covered spinning [J]. Journal of Textile Research, 2021, 42(11): 39-45.
[13] WU Jiaqing, WANG Ying, HAO Xinmin, GONG Yumei, GUO Yafei. Effect of filament feeding positions on structure and properties of siro-spinning core-spun yarns [J]. Journal of Textile Research, 2021, 42(08): 64-70.
[14] NI Jie, YANG Jianping, YU Chongwen. Effect of ratio of strands twist factor to single yarn twist factor on properties of viscose plied yarns [J]. Journal of Textile Research, 2021, 42(05): 46-50.
[15] LI Hao, XING Mingjie, SUN Zhihao, WU Yao. Exploration of image-based testing method for yarn twist in air-jet vortex spinning [J]. Journal of Textile Research, 2021, 42(02): 60-64.
Viewed
Full text


Abstract

Cited

  Shared   
  Discussed   
No Suggested Reading articles found!