Journal of Textile Research ›› 2024, Vol. 45 ›› Issue (05): 85-93.doi: 10.13475/j.fzxb.20221100901

• Dyeing and Finishing Engineering • Previous Articles     Next Articles

Color feature extraction of colored fibers based on two-dimensional Gaussian kernel density estimation

QIU Kebin1(), CHEN Weiguo2,3, ZHANG Zhiqiang4, HUANG Weizhong4   

  1. 1. School of Fashion and Design, Jiaxing Nanhu University, Jiaxing, Zhejiang 314001, China
    2. College of Textile Science and Engineering (International Institute of Silk), Zhejiang Sci-Tech University, Hangzhou, Zhejiang 310018, China
    3. Zhejiang Sci-Tech University Tongxiang Research Institute, Jiaxing, Zhejiang 314500, China
    4. Zhejiang Houyuan Textile Co., Ltd., Jiaxing, Zhejiang 314511, China
  • Received:2023-01-04 Revised:2023-06-02 Online:2024-05-15 Published:2024-05-31

Abstract:

Objective The diameters of the textile fibers are usually micrometer-grade, making it difficult to directly measure the colors of the textile fibers. A non-destructive and push-broom microscopic hyperspectral imaging system consisting of a stereomicroscope, an imaging spectrograph, and a digital detector shows an excellent spatial resolution for color measurement of colored textile fibers. In order to improve the accuracy and repeatability of the microscopic hyperspectral imaging system for colored textile fibers, a color feature extraction method of colored textile fibers based on two-dimensional Gaussian kernel density estimation was proposed.

Method The microscopic hyperspectral images of colored fibers were acquired by the microscopic hyperspectral imaging system. After preprocessing the hyperspectral images to obtain the spectral reflectance at 10 nm intervals over 400 to 700 nm, the fiber region of interest was chosen by the remote sensing image processing software (ENVI 4.8). The spectral reflectance was converted to chromatic values CIE L*a*b*, and the ΔE00 between the average color and each pixel color in the fiber region was computed. A two-dimensional relationship was established between the color difference ΔE00and L* in the textile fiber area to estimate the density value based on the two-dimensional Gaussian kernel density. In addition, a density threshold estimation method was proposed to truncate and remove low-density outliers. Finally, the weighted spectral reflectance with the corresponding density was converted to the colorimetric values.

Results Empirical analysis was performed using different colored wool fibers. The experimental results showed that the outliers (such as dust and highlight pixels) mainly existed in the tail in the two-dimensional spatial density distribution region, and the long tail indicated more outliers, which would result in a more serious impact on the accuracy and repeatability of color measurement results. In general, the relationship between L* and threshold T was similar among the colored wool fibers, and when T was between 0 and 0.02, the L* appeared to first decrease and then increase, indicating that the threshold value of T at the initial minimum lightness could be used as the density truncation threshold. The differences in L* among the color feature extraction methods were obvious for the majority of colored wool fibers, while the differences in C*, a* and b* were smaller. By truncating and removing the outliers, which would reduce the influence of outliers on the color measurement results, the lightness obtained by the proposed method was smallest. The lightness weighting method had worse repeatability than the proposed method, although both the proposed method and the lightness weighting method could improve the inter-class variation in the color. The possible reasons for this phenomenon could be that the lightness weighting method improved the interclass variability of fiber colors mainly by weighting the highlight pixels. The kernel density estimation method truncated and removed the low-density outliers on the one hand, and improved the weighting of normal pixels by two-dimensional Gaussian kernel density estimation on the other hand.

Conclusion The proposed method establishes a two-dimensional relationship between color difference ΔE00and L*, and effectively eliminates the effects of low-density outliers based on the two-dimensional Gaussian kernel density estimation. From the comparison results among the proposed method, the mean value method, and the lightness weighting method, the differences in L* are obvious for the majority of colored wool fibers, while the differences in C*, a*, and b* become smaller. In terms of chromatic values, the proposed method can improve the accuracy and repeatability of color measurement based on microscopic hyperspectral imaging for colored wool fibers, which would lay a foundation for the study of dyeing and blending prediction models for colored wool fibers.

Key words: colored fiber, microscopic hyperspectral imaging, color measurement, kernel density estimation, feature extraction

CLC Number: 

  • TS101.8

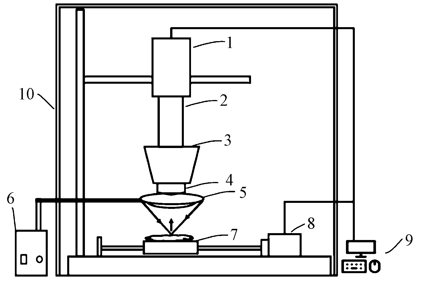
Fig.1

Schematic diagram of color measurement system based on microscopic hyperspectral imaging"

Fig.2

True color images of colored wool fibers"

Fig.3

Color feature distribution of colored wool fibers dataset with different colors. (a) CIELAB L*C* plane; (b) CIELAB a*b* plane"

Tab.1

Chromatic values CIE L*a*b* and lightness feature of colored wool fibers"

编号 CIE L*a*b*平均值 L*特征
L* a* b* 标准差 中位数
S1 17.535 0.950 -17.132 5.438 16.975
S2 36.222 32.758 -34.159 3.000 35.886
S3 42.305 -11.836 1.836 4.410 42.243
S4 51.417 60.889 14.990 2.408 51.116
S5 52.821 9.923 18.962 3.150 52.624
S6 67.280 28.957 1.175 2.491 67.031
S7 73.709 15.916 55.773 2.213 73.229
S8 82.366 14.731 7.417 1.693 82.304
S9 91.998 -1.766 10.982 1.402 91.831

Fig.4

Two-dimensional density distributions of colored wool fibers"

Fig.5

Relationship between threshold T and lightness L* of colored wool fibers. (a) Sample 1; (b) Sample 2; (c) Sample 3"

Fig.6

Comparison of colorimetric values of colored wool fibers obtained by different color feature extractions. (a) Comparison between mean method and kernel density estimation method; (b) Comparison between lightness weighting method and kernel density estimation method"

Fig.7

Linear fitting relationship between each ΔL*, Δa* and Δb* with ΔE00"

Tab.2

Inter-class variation in color of colored wool fibers"

参数 方法 样本数 平均值 标准差
L* 均值法 100 47.812 16.955
明度加权法 47.774 17.151
核密度估计法 47.362 17.102
a* 均值法 100 6.023 19.866
明度加权法 6.056 20.363
核密度估计法 6.242 20.014
b* 均值法 100 0.004 22.000
明度加权法 0.017 20.868
核密度估计法 -0.304 22.172

Tab.3

Repeatability of different color feature extraction methods"

样本
编号
均值法 明度加权法 核密度估计法
平均
色差
色差
标准差
平均
色差
色差
标准差
平均
色差
色差
标准差
N1 0.145 0.084 0.158 0.091 0.141 0.081
N2 0.516 0.227 0.517 0.229 0.519 0.225
N3 0.119 0.059 0.120 0.064 0.125 0.022
N4 0.079 0.036 0.079 0.050 0.074 0.034
N5 0.162 0.046 0.138 0.041 0.099 0.028
[1] 衡冲, 沈华, 王府梅. 数字化羊绒测色法及其在长度测量中的应用[J]. 纺织学报, 2020, 41(12): 42-48.
doi: 10.13475/j.fzxb.20200205307
HENG Chong, SHEN Hua, WANG Fumei. Digital cashmere color measurement and its application in length measurement[J]. Journal of Textile Research, 2020, 41(12): 42-48.
doi: 10.13475/j.fzxb.20200205307
[2] 李戎, 宋阳, 黄劲旭, 等. 有色纤维的配色方法研究[J]. 湖南科技大学学报(自然科学版), 2006(4): 83-87.
LI Rong, SONG Yang, HUANG Jinxu, et al. Study on color matching of pre-colored fiber blends[J]. Journal of Hunan University of Science & Technology (Natural Science Edition), 2006 (4): 83-87.
[3] 车江宁, 陈东辉. 纤维状样品测色方法的研究[J]. 印染, 2001(6):39-41,4.
CHE Jiangning, CHEN Donghui. Research on color measuring method for fibrous sample[J]. China Dyeing & Finishing, 2001(6):39-41,4.
[4] 张戈, 周建, 王蕾, 等. 用分光光度计法测量纤维颜色的影响因素[J]. 纺织学报, 2020, 41(4): 72-77.
ZHANG Ge, ZHOU Jian, WANG Lei, et al. Influencing factors for fiber color measurement by spectrophotometer[J]. Journal of Textile Research, 2020, 41(4): 72-77.
[5] 钱爱芬. 色纺纱产品特点及调配色原理[J]. 棉纺织技术, 2010, 38(11): 66-68.
QIAN Aifen. Colored spun yarn characteristic and color mixing & matching principle[J]. Cotton Textile Technology, 2010, 38(11): 66-68.
[6] 白婧, 杨柳, 张毅, 等. 纯棉色纺纱配色中的Stearns-Noechel模型参数优化[J]. 纺织学报, 2018, 39(3): 31-37.
BAI Jing, YANG Liu, ZHANG Yi, et al. Parameters optimization of Stearns-Noechel model in color matching of cotton colored spun yarn[J]. Journal of Textile Research, 2018, 39(3): 31-37.
[7] 卢雨正, 高卫东. 基于图像分割的拼色纺织品分色算法[J]. 纺织学报, 2012, 33(9): 55-60.
LU Yuzheng, GAO Weidong. Color separation algorithm for mixed dyed textiles based on image segment-ation[J]. Journal of Textile Research, 2012, 33(9): 55-60.
[8] 沈利利, 李忠健, 潘如如, 等. 色纺纱线中纤维混色比例的图像检测[J]. 纺织学报, 2016, 37(3): 138-143.
SHEN Lili, LI Zhongjian, PAN Ruru, et al. Image inspection of fiber blending percentages in colored spun yarns[J]. Journal of Textile Research, 2016, 37(3): 138-143.
[9] QIU K, CHEN W, ZHOU H, et al. Evaluation of the color measurement based on a microscopic hyperspectral imaging system[J]. Color Research and Application, 2021, 46(6): 1205-1217.
[10] ZHANG J, WU J, ZHANG X, et al. Color measurement of single yarn based on hyperspectral imaging system[J]. Color Research and Application, 2020, 45(3): 485-494.
[11] SCHANDA J, ILLUMINATION I C. Colorimetry: understanding the CIE system[M]. Hoboken: John Wiley & Sons Inc., 2007: 25-78.
[12] 石凯, 聂富强, 孙峰. 多维数据判别分析的非参核密度算法研究[J]. 计算机工程与应用, 2019, 55(6): 8-12,30.
doi: 10.3778/j.issn.1002-8331.1808-0257
SHI Kai, NIE Fuqiang, SUN Feng. Research on algorithm of nonparametric kernel density for discriminant analysis of multidimensional data[J]. Computer Engineering and Applications, 2019, 55(6):8-12,30.
doi: 10.3778/j.issn.1002-8331.1808-0257
[13] QIU K, CHEN W, SHEN J, et al. A novel 3D convolutional neural network model with supervised spectral regression for recognition of hyperspectral images of colored wool fiber[J]. Color Research & Application, 2022, 47(5): 1105-1117.
[1] REN Jie, ZHANG Jie, WANG Junliang. Multi-fault feature adaptive extraction method for textile typical equipment [J]. Journal of Textile Research, 2024, 45(04): 211-220.
[2] WANG Zhenhua, ZHANG Zhouqiang, ZAN Jie, LIU Jianghao. Fabric defects detection algorithm based on multi-scale Laws texture energy and low-rank decomposition [J]. Journal of Textile Research, 2024, 45(04): 96-104.
[3] LIU Junping, ZHANG Fuhong, HU Xinrong, PENG Tao, LI Li, ZHU Qiang, ZHANG Junjie. Personalized clothing matching recommendation based on multi-modal fusion [J]. Journal of Textile Research, 2023, 44(03): 176-186.
[4] MA Chuanxu, ZHANG Ning, PAN Ruru. Detection of cheese yarn bobbin varieties based on support vector machine [J]. Journal of Textile Research, 2023, 44(01): 194-200.
[5] XU Zengbo, ZHANG Ling, ZHANG Yanhong, CHEN Guiqing. Research on clothing collar types based on complex network extraction and support vector machine classification [J]. Journal of Textile Research, 2021, 42(06): 146-152.
[6] ZHENG Xiaoping, LIU Chengxia. Objective evaluation of woven garment bagging performance by laser measurement [J]. Journal of Textile Research, 2021, 42(05): 143-149.
[7] QIU Kebin, CHEN Weiguo, ZHOU Hua. Comparison of spectral imaging and spectrophotometry in fabric color measurement [J]. Journal of Textile Research, 2020, 41(11): 73-80.
[8] QIU Kebin, CHEN Weiguo, ZHOU Hua, YING Shuangshuang. Research and development of textile color measurement based on imaging technologies [J]. Journal of Textile Research, 2020, 41(09): 155-161.
[9] YING Shuangshuang, QIU Kebin, GUO Yufei, ZHOU Jiu, ZHOU Hua. Error optimization for measuring color chart data in textile color management [J]. Journal of Textile Research, 2020, 41(08): 74-80.
[10] WANG Hui, SUN Jie, DING Xiaojun, LONG Ying, ZOU Fengyuan. Comparison of feature extracting and matching methods for fabric patterns [J]. Journal of Textile Research, 2020, 41(04): 45-50.
[11] ZHANG Ge, ZHOU Jian, WANG Lei, PAN Ruru, GAO Weidong. Influencing factors for fiber color measurement by spectrophotometer [J]. Journal of Textile Research, 2020, 41(04): 72-77.
[12] . Structure and performances of double channel digital ring spinning melange yarn [J]. Journal of Textile Research, 2018, 39(11): 27-32.
[13] . Fabric defect inspection based on modified discriminant complete local binary pattern and lattice segmentation [J]. Journal of Textile Research, 2018, 39(09): 57-64.
[14] . Color difference measurement of dyed fabrics using digital camera  [J]. JOURNAL OF TEXTILE RESEARCH, 2018, 39(08): 77-82.
[15] . Fast fabric defect detection algorithm based on integral image [J]. JOURNAL OF TEXTILE RESEARCH, 2016, 37(11): 141-147.
Viewed
Full text


Abstract

Cited

  Shared   
  Discussed   
No Suggested Reading articles found!