Journal of Textile Research ›› 2024, Vol. 45 ›› Issue (11): 46-54.doi: 10.13475/j.fzxb.20230804201

• Fiber Materials • Previous Articles     Next Articles

Preparation and properties of carbon nanotube modified three-dimensional fiber-mesh nonwoven sensors

ZHANG Rui1,2, YING Di2, CHEN Bingbing2, TIAN Xin2, ZHENG Yingying2, WANG Jian1,2(), ZOU Zhuanyong1,2   

  1. 1. Key Laboratory of Clean Dyeing and Finishing Technology of Zhejiang Province, Shaoxing University, Shaoxing, Zhejiang 312000, China
    2. Shaoxing Key Laboratory of High Performance Fibers & Products, Shaoxing University, Shaoxing, Zhejiang 312000, China
  • Received:2023-08-18 Revised:2024-05-09 Online:2024-11-15 Published:2024-12-30
  • Contact: WANG Jian E-mail:jwang@usx.edu.cn

Abstract:

Objective Flexible sensors, as core components of flexible smart wearable devices, have a promising future in many fields. However, a common problem is that lower sensitivity and poor durability affect the performance of flexible sensors. In order to improve the problems of low sensitivity, poor durability, and lack of flexibility and comfort in the use of flexible wearable pressure sensors, a highly sensitive and more wear-resistant piezoresistive sensor based on a three-dimensional (3-D) fiber mesh nonwovens prepared from polyethylene/polypropylene hot-melt fibers with polyester fibers was proposed.

Method Firstly, three-dimensional fiber mesh nonwovens were prepared by blending polyethylene/polypropylene hot-melt fibers with polyester fibers, which were pre-strengthened and heated to shape. Then, using piezoresistive sensing as its basic principle, carbon nanotube/nonwoven (CNN) sensors were prepared by immersing 3-D fiber mesh nonwovens into CNT suspension for surface treatment through ultrasonic-assisted modification and impregnation-drying method. Scanning electron microscopy, DM6500 series digital multimeter, and homemade tensile tester were used to characterise and analyse the CNT-modified CNN sensors.

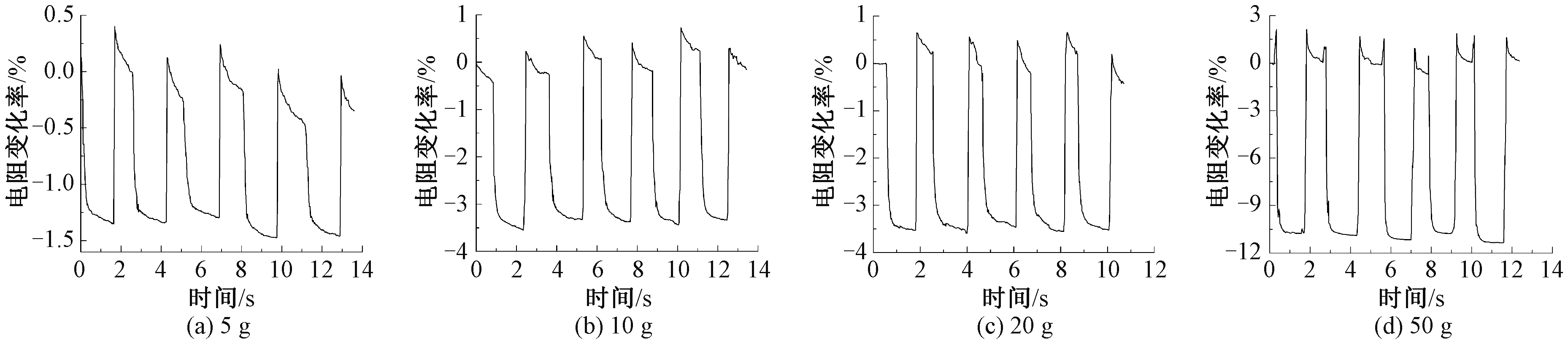
Results Nonwovens with four different hot-melt fiber proportions (5%, 10%, 20% and 25% by mass), denoted as CNN5, CNN10, CNN20 and CNN25, were prepared, and four different proportions of CNT-modified nonwovens sensors were compared for sensitivity and sensing performance. The results showed that the sensitivity would decrease with increasing hot-melt fiber proportion and pressure, attributing to the increase in fiber density leading to higher compression modulus. The polyester hot-melt nonwoven fabric with a base of CNN5 has the highest sensitivity up to 0.91 kPa-1 in the range of 0-0.17 kPa, 3.5×10-3 kPa-1 in the range of 0.17-53.65 kPa and 4.8×10-4 kPa-1 in the range of 53.65-166 kPa. Sensing performance studies of the CNN sensors showed that the sensor exhibited a stable dynamic signal response when pressure was continuously applied and released using weights with different forces, demonstrating that the sensor is able to accurately discriminate between different pressures and has a fast response and recovery time (73/122 ms). In addition to high durability (>2 000 cycles), the CNN sensors can also be applied to information encryption, monitoring of human physiological signals, speech monitoring and handwriting monitoring, and multi-site sensing arrays.

Conclusion The above characterization shows that the sensing performance of CNN sensors prepared from 3-D fiber mesh nonwovens modified by CNT is significantly improved. The experimental results show that the CNN sensors have higher sensitivity, faster response time and more stable durability due to the unique 3-D structure of the fiber mesh nonwovens. It can be used to monitor human physiological signals, voice signals as well as handwriting signals. In the future, by collecting a large number of data signals and using machine learning to train and predict their signals, it will pave the way for health monitoring, speech recognition, handwriting recognition and other fields.

Key words: polyethylene/polypropylene hot melt fiber, three-dimensional fiber mesh nonwoven, carbon nanotube, piezoresistive sensor, sensing property, health monitoring

CLC Number: 

  • TS106

Fig.1

CNN sensor schematic"

Fig.2

SEM images of CNN before (a) and after (b) CNT treatment"

Fig.3

CNN sensor sensitivity"

Fig.4

Response mechanism diagram of CNN sensors. (a) No pressure; (b) Under pressure"

Fig.5

Response of CNN sensors to different mass weights"

Fig.6

Performance of CNN sensors. (a) Cyclic pressure application with weights of different masses; (b) Response to continuous increase in mass of weights; (c) Response time; (d) Recovery time"

Fig.7

Durability of CNN sensors"

Fig.8

Cryptographic delivery application for CNN sensors. (a) Fast/slow finger clicks; (b) Clicking with small, medium, and large forces using fingers; (c) Morse code"

Fig.9

Health monitoring applications of CNN sensors in different parts of body. (a) Eye; (c) Lip; (e) Throat; (b) Finger; (d) Wrist; (f) Insole"

Fig.10

CNN sensor for speech and handwriting applications. (a) Speech real pictures; (b) Speech “zhiwu”; (c) Speech “shaoxing”; (d) Speech “chuanganqi”; (e) Handwriting real pictures; (f) Handwriting “D”; (g) Handwriting “R”; (h) Handwriting “Z”"

Fig.11

Multi-bit point sensing applications of CNN sensors through different objects. (a) Weights; (b) Finger; (c) Small knife"

[1] 万爱兰, 沈新燕, 王晓晓, 等. 聚多巴胺修饰还原氧化石墨烯/聚吡咯导电织物的制备及其传感响应特性[J]. 纺织学报, 2023, 44(1): 156-163.
WAN Ailan, SHEN Xinyan, WANG Xiaoxiao, et al. Preparation and sensing response characterization of polydopamine modified reduced graphene oxide/polypyrrole conductive fabrics[J]. Journal of Textile Research, 2023, 44(1): 156-163.
[2] 王晨露, 马金星, 杨雅晴, 等. 聚苯胺涂层经编织物的应变传感性能及其在呼吸监测中的应用[J]. 纺织学报, 2022, 43(8):113-118.
WANG Chenlu, MA Jinxing, YANG Yaqing, et al. Strain sensing property and respiration monitoring of polyaniline-coated warp-knitted fabrics[J]. Journal of Textile Research, 2022, 43(8):113-118.
[3] 李港华, 王航, 史宝会, 等. 柔性电子织物的构筑及其压力传感性能[J]. 纺织学报, 2023, 44(2): 96-102.
LI Ganghua, WANG Hang, SHI Baohui, et al. Construction of flexible electronic fabric and its pressure sensing performance[J]. Journal of Textile Research, 2023, 44(2): 96-102.
[4] PIERRE CLAVER U, ZHAO G. Recent progress in flexible pressure sensors based electronic skin[J]. Advanced Engineering Materials, 2021. DOI: 10.1002/adem.202001187.
[5] MISHRA S, MOHANTY S, RAMADOSS A. Functionality of flexible pressure sensors in cardiovascular health monitoring: a review[J]. ACS Sensors, 2022, 7(9): 2495-2520.
doi: 10.1021/acssensors.2c00942 pmid: 36036627
[6] JUNG Y H, HONG S K, WANG H S, et al. Flexible piezoelectric acoustic sensors and machine learning for speech processing[J]. Advanced Materials, 2020. DOI: 10.1002/adma.201904020.
[7] XIANG S, TANG J, YANG L, et al. Deep learning-enabled real-time personal handwriting electronic skin with dynamic thermoregulating ability[J]. npj Flexible Electronics, 2022, 6(1): 59.
[8] JEONG Y, GU J, BYUN J, et al. Ultra-wide range pressure sensor based on a microstructured conductive nanocomposite for wearable workout monitoring[J]. Advanced Healthcare Materials, 2021. DOI: 10.1002/adhm.202001461.
[9] RUTH S R A, BEKER L, TRAN H, et al. Rational design of capacitive pressure sensors based on pyramidal microstructures for specialized monitoring of bio-signals[J]. Advanced Functional Materials, 2020. DOI: 10.1002/adfm.201903100.
[10] YANG Y, PAN H, XIE G, et al. Flexible piezoelectric pressure sensor based on polydopamine-modified BaTiO3/PVDF composite film for human motion monitoring[J]. Sensors and Actuators A: Physical, 2020. DOI: 10.1016/j.sna.2019.111789.
[11] LIU Z, ZHAO Z, ZENG X, et al. Expandable microsphere-based triboelectric nanogenerators as ultrasensitive pressure sensors for respiratory and pulse monitoring[J]. Nano Energy, 2019, 59: 295-301.
[12] XU S, LI X, SUI G, et al. Plasma modification of PU foam for piezoresistive sensor with high sensitivity, mechanical properties and long-term stability[J]. Chemical Engineering Journal, 2020. DOI: 10.1016/j.cej.2019.122666.
[13] TIAN G, ZHAN L, DENG J, et al. Coating of multi-wall carbon nanotubes (MWCNTs) on three-dimensional, bicomponent nonwovens as wearable and high-performance piezoresistive sensors[J]. Chemical Engineering Journal, 2021. DOI: 10.1016/j.cej.2021.130682.
[14] HOU N, ZHAO Y, JIANG R, et al. Flexible piezoresistive sensor based on surface modified dishcloth fibers for wearable electronics device[J]. Colloids and Surfaces A: Physicochemical and Engineering Aspects, 2022. DOI: 10.1016/j.colsurfa.2022.129638.
[15] CHAO M, WANG Y, MA D, et al. Wearable MXene nanocomposites-based strain sensor with tile-like stacked hierarchical microstructure for broad-range ultrasensitive sensing[J]. Nano Energy, 2020. DOI: 10.1016/j.nanoen.2020.105187.
[16] WANG M, YU Y, LIANG Y, et al. High-performance multilayer flexible piezoresistive pressure sensor with bionic hierarchical and anisotropic structure[J]. Journal of Bionic Engineering, 2022, 19(5): 1439-1448.
[17] RUTH S R A, FEIG V R, TRAN H, et al. Microengineering pressure sensor active layers for improved performance[J]. Advanced Functional Materials, 2020. DOI: 10.1002/adfm.202003491.
[18] YIN T, CHENG Y, HOU Y, et al. 3D porous structure in MXene/PANI foam for a high-performance flexible pressure sensor[J]. Small, 2022. DOI: 10.1002/smll.202204806.
[19] JUNG Y, CHOI J, LEE W, et al. Irregular microdome structure-based sensitive pressure sensor using internal popping of microspheres[J]. Advanced Functional Materials, 2022. DOI:10.1002/adfm.2201147.
[20] SUN S, LIU Y, CHANG X, et al. A wearable, waterproof, and highly sensitive strain sensor based on three-dimensional graphene/carbon black/Ni sponge for wirelessly monitoring human motions[J]. Journal of Materials Chemistry C, 2020, 8(6): 2074-2085.
[21] HUANG L, CHEN J, XU Y, et al. Three-dimensional light-weight piezoresistive sensors based on conductive polyurethane sponges coated with hybrid CNT/CB nanoparticles[J]. Applied Surface Science, 2021. DOI: 10.1016/j.apsusc.2021.149268.
[22] LU Y, TIAN M, SUN X, et al. Highly sensitive wearable 3D piezoresistive pressure sensors based on graphene coated isotropic non-woven substrate[J]. Composites Part A: Applied Science and Manufacturing, 2019, 117: 202-210.
[23] HE Y, ZHOU M, MAHMOUD M H H, et al. Multifunctional wearable strain/pressure sensor based on conductive carbon nanotubes/silk nonwoven fabric with high durability and low detection limit[J]. Advanced Composites and Hybrid Materials, 2022, 5(3): 1939-1950.
[1] ZHAO Fang, SHAO Guangwei, SHAO Huiqi, BI Siyi, LI Minghao, HAI Wenqing, ZHANG Xin, JIANG Ziyang, JIANG Jinhua, CHEN Nanliang. Preparation and properties of Ni/Cu/Ni-carbon nanotube composite yarns [J]. Journal of Textile Research, 2024, 45(12): 144-151.
[2] SHI Ya'nan, MA Yanxue, FAN Ping, XUE Wenliang, LI Yuling. Preparation of weaving edge structure flexible sensor woven webbing and analysis of influencing factors on sensing performance [J]. Journal of Textile Research, 2024, 45(11): 114-120.
[3] LU Daokun, WANG Shifei, DONG Qian, SHI Naman, LI Siqi, GAN Lulu, ZHOU Shuang, SHA Sha, ZHANG Ruquan, LUO Lei. Construction of MXene-based conductive fabrics and their multifunctional applications [J]. Journal of Textile Research, 2024, 45(09): 137-145.
[4] WANG Jian, ZHANG Rui, ZHENG Yingying, DONG Zhengmei, ZOU Zhuanyong. Research progress of flexible textile pressure sensor based on MXene [J]. Journal of Textile Research, 2024, 45(06): 219-226.
[5] WANG Nan, SUN Hui, YU Bin, XU Lei, ZHU Xiangxiang. Preparation and sensing performances of flexible temperature sensor prepared from melt-blown nonwoven materials [J]. Journal of Textile Research, 2024, 45(05): 138-146.
[6] JIA Xiaoya, WANG Ruining, SUN Runjun. Preparation and stab-resistance of composites fabricated by aramid fabric impregnated with SiO2/poly(ethylene glycol)200/ multi-walled carbon nanotube shear thickening solution [J]. Journal of Textile Research, 2024, 45(04): 151-159.
[7] SONG Gongji, WANG Yuyu, WANG Shanlong, WANG Jiannan, XU Jianmei. Research progress in artificial nerve conduit prepared by carbon nanotube-doped polymer [J]. Journal of Textile Research, 2023, 44(11): 232-239.
[8] ZHANG Shaoyue, YUE Jiangyu, YANG Jiale, CHAI Xiaoshuai, FENG Zengguo, ZHANG Aiying. Preparation and properties of eco-friendly polycaprolactone-based composite phase change fibrous membranes [J]. Journal of Textile Research, 2023, 44(03): 11-18.
[9] LI Ganghua, WANG Hang, SHI Baohui, QU Lijun, TIAN Mingwei. Construction of flexible electronic fabric and its pressure sensing performance [J]. Journal of Textile Research, 2023, 44(02): 96-102.
[10] PU Haihong, HE Pengxin, SONG Baiqing, ZHAO Dingying, LI Xinfeng, ZHANG Tianyi, MA Jianhua. Preparation of cellulose/carbon nanotube composite fiber and its functional applications [J]. Journal of Textile Research, 2023, 44(01): 79-86.
[11] CHU Yanyan, LI Shichen, CHEN Chao, LIU Yingying, HUANG Weihan, ZHANG Yue, CHEN Xiaogang. Research progress in bulletproof flexible textile materials and structures [J]. Journal of Textile Research, 2022, 43(12): 203-212.
[12] LOU Huiqing, ZHU Feichao, LI Leilei, DING Huilong, PU Dandan, WANG Xiangfei. Preparation and electrochemical performance of composite carbon nanotube/Ni/polyaniline fibrous supercapacitor [J]. Journal of Textile Research, 2022, 43(11): 35-40.
[13] XUE Chao, ZHU Hao, YANG Xiaochuan, REN Yu, LIU Wanwan. Preparation and properties of polyurethane-based carbon nanotube/liquid metal conductive fibers [J]. Journal of Textile Research, 2022, 43(07): 29-35.
[14] NIE Wenqi, SUN Jiangdong, XU Shuai, ZHENG Xianhong, XU Zhenzhen. Research progress in supercapacitors based on flexible textile fibers [J]. Journal of Textile Research, 2022, 43(07): 200-206.
[15] YAO Mingyuan, LIU Ningjuan, WANG Jianing, XU Fujun, LIU Wei. Electrothermal properties of functionalization carbon nanotube composite films and films twisted yarns [J]. Journal of Textile Research, 2022, 43(05): 86-91.
Viewed
Full text


Abstract

Cited

  Shared   
  Discussed   
No Suggested Reading articles found!