Journal of Textile Research ›› 2025, Vol. 46 ›› Issue (12): 74-82.doi: 10.13475/j.fzxb.20250403301

• Fiber Materials • Previous Articles     Next Articles

Sodium alginate modified waterborne polyurethane/liquid metal conductive sensing fibers for pulse monitoring

DENG Jing, WANG Ruining(), SUN Runjun, ZHANG Yajuan, GUO Haibing, LEI Ke   

  1. School of Textile Science and Engineering, Xi'an Polytechnic University, Xi'an, Shaanxi 710048, China
  • Received:2025-04-17 Revised:2025-08-07 Online:2025-12-15 Published:2026-02-06
  • Contact: WANG Ruining E-mail:wangruining123@163.com

Abstract:

Objective In recent years, liquid metals (LMs) have exhibited unique advantages in the preparation of stretchable conductive sensing fibers due to their excellent fluidity and electrical conductivity. To address the high surface tension of liquid metals, enabling them to stably combine with elastic matrices, efforts have been made to fabricate liquid metal-based conductive sensing fibers that possess both good electrical conductivity and flexibility while preventing leakage.

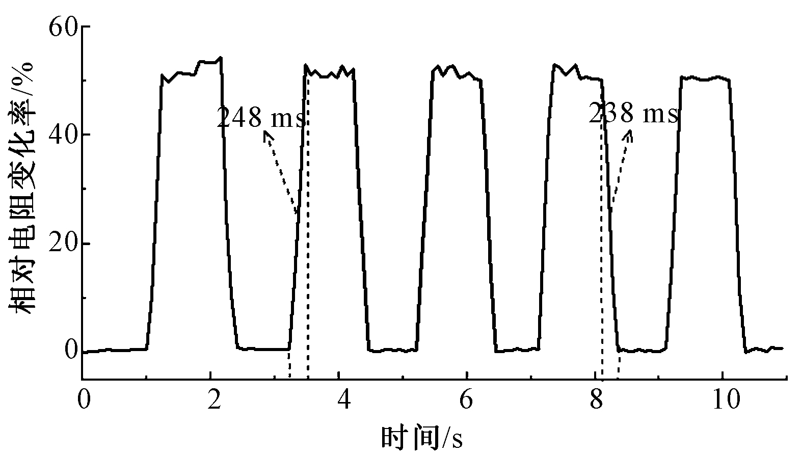
Method This study utilized the carboxyl groups in sodium alginate (SA) to coordinate with gallium ions in LM, forming a core-shell structure that enhances the interfacial wettability of LM. Subsequently, a stable and homogeneous spinning solution was prepared by incorporating waterborne polyurethane (WPU), enabling the production of SA-modified WPU/LM conductive sensing fibers via wet spinning technology. The influence of LM and SA mass fractions on the viscosity of the spinning solution and the mechanical and electrical properties of the SA-modified WPU/LM conductive sensing fibers were investigated,.

Results The results revealedthe proportional relation between the mass fraction of sodium alginate and the viscosity of the spinning solution. The spinning solution prepared by ultrasonically dispersing liquid metal with a sodium alginate mass fraction of 0.1% was found suitable for spinning, and the liquid metal in the spinning solution was evenly and stably dispersed. The relative resistance of sodium alginate-modified WPU/LM conductive sensing fibers within a tensile strain range of 0%-100% and tensile frequencies of 0.5-2 Hz exhibited periodical changes. During tensile loading, the relative resistance increased and resumed to the initial value upon recovery, demonstrating good resistance stability and sensitivity. During cyclic tensile tests, the relative resistance of sodium alginate-modified WPU/LM conductive sensing fibres responded with periodic changes. The relative resistance increased under tensile loading, and it decreased back to the initial value upon recovery, and the repeatable resistance response showed a resistance response time of 248 ms. In addition, The fabrics prepared by sodium alginate modified WPU/LM conductive sensing fibers (with a sensitivity value of 1.51)exhibited good electrical signal response characteristics in the signal monitoring of human joints and wrist pulses, suggesting applicability for human health monitoring. The research results indicated that the sensor fabric is able to respond to the strain of different parts of the human body in a timely manner, and the resistance changes at the elbow joint, knuckle and knee joint showed that when the joint was flexed the resistance change rate increased, and when the joint was straightened the resistance returned to the initial value. The sensor fabrics was show to quickly detect small changes in pulse signals in different states of the human body.

Conclusion The research results reveal that the SA-modified WPU/LM conductive sensing fibers exhibit exceptional mechanical performance, achieving a tensile elongation at break of up to 650%. Within the range of 0% to 100% tensile strain, under cyclic tensile tests at frequencies ranging from 0.5 to 2 Hz, the relative resistance change pattern of the conductive sensing fibers is characterized by an increase during stretching and a return to the initial value during recovery. These fibers demonstrate favorable resistance response characteristics and sensitivity, with a response time of 248 ms and a gauge factor sensitivity value of 1.51. Furthermore, they can sensitively monitor electrical signal variations associated with various human joint movements and wrist pulses under different conditions, showcasing potential applications in human health monitoring.

Key words: flexible sensing material, conductive fiber, liquid metal, waterborne polyurethane, sodium alginate, wet spinning, pulse monitoring, smart wearable textiles

CLC Number: 

  • TB333

Fig.1

Rheological properties of spinning fluids. (a) Steady-state rheological curves of different spinning solutions;(b) Spinning solution after overnight"

Fig.2

SEM images and gallium elemental energy spectra of sodium alginate-modified WPU/LM conductive sensing fibers.(a)Cross-section of conductive sensing fiber;(b)Longitudinal surface of conductive sensing fibers;(c)Fiber EDS image;(d)Gallium elemental energy spectrum"

Fig.3

Infrared spectroscopy spectra of SA dispersion, SA/LM ink, and SA/LM/WPU spinning solution"

Fig.4

Schematic structure of SA/LM shell core"

Fig.5

Stress-strain curves of conductive sensing fibers"

Fig.6

Resistance stability analysis of conductive sensing fibers.(a)Relative resistance curves under different tensile strains; (b) Liquid metal change diagram; (c) Relative resistance curves under different stretching frequency"

Fig.7

Relative resistance curve of conductive sensing fibers under 10 000 reciprocating stretches"

Fig.8

Resistance change rate-strain curves of sodium alginate-modified WPU/LM conductive sensing fibers"

Tab.1

RGF values of other flexible sensing materials"

不同文献中柔性传感材料 应变/% 灵敏度
用于可伸缩智能织物的液态金属核壳纤维[7] 0~250 1.28
用于构建多功能传感器的液态金属掺杂导电水凝胶[24] 0~100 0.92
用于超韧性和高性能压力传感器的液态金属-聚乙烯醇复合材料[25] 0~12 0.80

Fig.9

Responsive characteristics of conductive sensing fibers by stretching and restoring"

Fig.10

Changes in electrical signals during movement in different parts of human body.(a) Finger joint movement;(b)Elbow joint movement;(c)Knee joint movement"

Fig.11

Changes of wrist pulse signal in different states.(a)Diagram of fabric at wrist;(b)Wrist pulse signal change curve in calm state;(c)Wrist pulse signal change curve in continuous speaking state"

Fig.12

Changes in wrist pulse signal before and after exercise in both subjects.(a)D pulse signal change curve before exercise;(b)D pulse signal variation curve after 100 jumping jacks;(c)H pulse signal change curve before exercise;(d)H pulse signal variation curve after 100 jumping jacks"

[1] LOU Z, WANG L L, JIANG K, et al. Reviews of wearable healthcare systems: materials, devices and system integration[J]. Materials Science and Engineering: Reports, 2020, 140: 100523.
doi: 10.1016/j.mser.2019.100523
[2] SOURI H, BHATTACHARYYA D. Highly stretchable multifunctional wearable devices based on conductive cotton and wool fabrics[J]. ACS Applied Materials & Interfaces, 2018, 10(24): 20845-20853.
[3] ZHAO J J, FU Y L, XIAO Y X, et al. A naturally integrated smart textile for wearable electronics applications[J]. Advanced Materials Technologies, 2020, 5: 1900781.
doi: 10.1002/admt.v5.1
[4] 夏磊, 汤清伦, 韦炜. 纤维基柔性可拉伸电子器件的研究进展[J]. 棉纺织技术, 2022, 50(4): 73-77.
XIA Lei, TANG Qinglun, WEI Wei. Research progress of fiber based flexible and stretchable electronic device[J]. Cotton Textile Technology, 2022, 50(4):73-77.
[5] 张文枭, 左杏薇, 曲丽君, 等. 基于导电纤维的柔性电子器件研究进展[J]. 复合材料学报, 2023, 40(2): 688-709.
ZHANG Wenxiao, ZUO Xingwei, QU Lijun, et al. Research progress of flexible electronic devices based on conductive fibers[J]. Acta Materiae Compositae Sinica, 2023, 40(2): 688-709.
[6] LI Y H, ZHOU B, ZHENG G Q, et al. Continuously prepared highly conductive and stretchable SWNT/MWNT synergistically composited electrospun thermoplastic polyurethane yarns for wearable sensing[J]. Journal of Materials Chemistry C, 2018, 6(9): 2258-2269.
doi: 10.1039/C7TC04959E
[7] DING L, WANG Q, WANG S, et al. A liquid metal core-shell fiber for stretchable smart fabrics[J]. Cell Reports Physical Science, 2023, 4(10): 101603.
doi: 10.1016/j.xcrp.2023.101603
[8] 刘旭华, 苗锦雷, 曲丽君, 等. 用于可穿戴智能纺织品的复合导电纤维研究进展[J]. 复合材料学报, 2021, 38(1): 67-83.
LIU Xuhua, MIAO Jinlei, QU Lijun, et al. Research progress of composite conductive fiber in wearable intelligent textiles[J]. Acta Materiae Compositae Sinica, 2021, 38(1): 67-83.
[9] 罗梦颖, 陈慧君, 夏明, 等. 弹性导电复合纤维的制备及其应变与温度传感性能[J]. 纺织学报, 2024, 45(10): 9-15.
doi: 10.13475/j.fzxb.20230706201
LUO Mengying, CHEN Huijun, XIA Ming, et al. Preparation of elastic conductive composite fiber and its stain and temperature sensing properties[J]. Journal of Textile Research, 2024, 45(10): 9-15.
doi: 10.13475/j.fzxb.20230706201
[10] 张雨晴, 姚明远, 尹思一, 等. 碳纳米管涂层氨纶传感材料的性能研究[J]. 棉纺织技术, 2024, 52(5):15-22.
ZHANG Yuqing, YAO Mingyuan, YIN Siyi, et al. Property research of carbon nanotube coating spandex sensing material[J]. Cotton Textile Technology, 2024, 52(5): 15-22.
[11] GUO R, SUN X Y, YUAN B, et al. Magnetic liquid metal (Fe-EGaIn) based multifunctional electronics for remote self-healing materials, degradable electronics, and thermal transfer printing[J]. Advanced Science, 2019, 6(20): 1901478.
doi: 10.1002/advs.v6.20
[12] QI X J, ZHAO H T, WANG L H, et al. Underwater sensing and warming E-textiles with reversible liquid metal electronics[J]. Chemical Engineering Journal, 2022, 437: 135382.
doi: 10.1016/j.cej.2022.135382
[13] 张亚娟, 王蕊宁, 孙润军, 等. 镓基液态金属基柔性传感材料的制备研究进展[J]. 功能材料, 2024, 55(7): 7070-7078.
doi: 10.3969/j.issn.1001-9731.2024.07.009
ZHANG Yajuan, WANG Ruining, SUN Runjun, et al. Research progress on gallium based liquid metal based flexible sensing materials[J]. Journal of Functional Materials, 2024, 55(7): 7070-7078.
doi: 10.3969/j.issn.1001-9731.2024.07.009
[14] YU X C, FAN W, LIU Y, et al. A one-step fabricated sheath-core stretchable fiber based on liquid metal with superior electric conductivity for wearable sensors and heaters[J]. Advanced Materials Technologies, 2022, 7(7): 2101618.
doi: 10.1002/admt.v7.7
[15] 张春小, 崔丹丹, 杜轶, 等. 镓基液态金属的结构与物性[J]. 自然杂志, 2023, 45(5): 340-354.
ZHANG Chunxiao, CUI Dandan, DU Yi, et al. Structure and physical properties of gallium-based liquid metal[J]. Chinese Journal of Nature, 2023, 45(5): 340-354.
doi: 10.3969/j.issn.0253-9608.2023.05.003
[16] LI X K, LI M J, ZONG L, et al. Liquid metal droplets wrapped with polysaccharide microgel as biocompatible aqueous ink for flexible conductive devices[J]. Advanced Functional Materials, 2018, 28(39): 1804197.
doi: 10.1002/adfm.v28.39
[17] YANG T, FENG J Y, AO H Z, et al. A composite nano-ink of liquid metal nanoparticles and carbon nanotubes for the fabrication of flexible pressure sen-sors[J]. Journal of Electronic Materials, 2024, 53(2): 652-660.
doi: 10.1007/s11664-023-10841-9
[18] LIAO M H, LIAO H, YE J J, et al. Polyvinyl alcohol-stabilized liquid metal hydrogel for wearable transient epidermal sensors[J]. ACS Applied Materials & Interfaces, 2019, 11(50): 47358-47364.
[19] TANG S Y, TABOR C, KALANTAR-ZADEH K, et al. Gallium liquid metal: the devil's elixir[J]. Annual Review of Materials Research, 2021, 51: 381-408.
doi: 10.1146/matsci.2021.51.issue-1
[20] KIM S, YOO D, LIM J, et al. Simple and effective patterning method of liquid-metal-infused sponge electrode for fabricating 3D stretchable electronics[J]. Advanced Materials Technologies, 2024, 9(14): 2301589.
doi: 10.1002/admt.v9.14
[21] LIANG S T, HUANG M J, JIANG D B, et al. 3D printing of TPU-liquid metal composite inks for the preparation of flexible sensing electronics[J]. ChemistryOpen, 2024, 13(9): e202300301.
doi: 10.1002/open.v13.9
[22] 郑乾帅, 高敏, 赵庆波, 等. OMMT/NMMO/纤维素纺丝液流变性能研究[J]. 合成纤维, 2022, 51(2):1-6.
ZHENG Qianshuai, GAO Min, ZHAO Qingbo, et al. Research on rheological properties of OMMT/NMMO/cellulose spinning Solution[J]. Synthetic Fiber in China, 2022, 51(2): 1-6.
[23] 刘玲, 周彬, 周红涛. PEDOT/PSS质量分数对纺丝液流变性能及导电纤维可纺性的影响[J]. 塑料工业, 2022, 50(2):174-178.
LIU Ling, ZHOU Bin, ZHOU Hongtao. Influence of PEDOT/PSS Contents on rheological properties of spinning formulation and spinnability of conducting fiber[J]. China Plastics Industry, 2022, 50(2):174-178.
[24] ZHOU L T, LI Y C, XIAO J C, et al. Liquid metal-doped conductive hydrogel for construction of multifunctional sensors[J]. Analytical Chemistry, 2023, 95(7): 3811-3820.
doi: 10.1021/acs.analchem.2c05118 pmid: 36747339
[25] LOU Y, LIU H Z, ZHANG J Y. Liquid metals in plastics for super-toughness and high-performance force sensors[J]. Chemical Engineering Journal, 2020, 399: 125732.
doi: 10.1016/j.cej.2020.125732
[1] WANG Xiaohu, BAO Anna, WEI Jingwen, ZHAO Xiaoman, HAN Xiao, HONG Jianhan. One-step fabrication and application of cross-scale sensing yarns via synergistic electrospinning-electrospraying process [J]. Journal of Textile Research, 2025, 46(12): 101-109.
[2] HOU Zhiwen, REN Zeping, WANG Xiaoning, ZHANG Tianjiao. Preparation and properties of chitosan/alginate-treated flame retardant and antibacterial cotton fabrics [J]. Journal of Textile Research, 2025, 46(12): 171-180.
[3] YANG Mengxiao, QIU Xiaoxue, WU Fang, LIU Lin, YAO Juming. Preparation and strain sensing performance of silk-based conductive hydrogel fibers [J]. Journal of Textile Research, 2025, 46(12): 49-56.
[4] YAO Xiaojun, XU Enting, YANG Xueyuan, FANG Lei, BAO Wei, FANG Kuanjun. Regulation of polyvinylpyrrolidone on structure and properties of polyethylene terephthalate hollow fiber membranes [J]. Journal of Textile Research, 2025, 46(12): 66-73.
[5] LIANG Feng, FANG Yan, ZHANG Weihua, TANG Yuling, LI Shuangyang, ZHOU Jianfei, SHI Bi. Preparation and mechanical properties of collagen-based fibers employing metal-polyphenol networks [J]. Journal of Textile Research, 2025, 46(08): 10-17.
[6] CHEN Yajuan, GUO Hanyu, ZHANG Chentian, LI Xinxin, ZHANG Xueping. Preparation and hygroscopic properties of polyvinyl alcohol/sodium alginate/polyamide 66 composite hydrogel core-spun yarns [J]. Journal of Textile Research, 2025, 46(06): 103-110.
[7] WANG Xu, LI Huanyu, FU Fan, YANG Weifeng, GONG Wei. Continuous preparation and application of nickel-doped liquid metal composite fibers [J]. Journal of Textile Research, 2025, 46(06): 23-30.
[8] XU Tong, XU Ruidong, WANG Yiwen, TIAN Mingwei. Preparation and touching characterization of textile-based touch electronics fabric [J]. Journal of Textile Research, 2025, 46(06): 31-37.
[9] TAN Wenping, ZHANG Shuo, ZHANG Qian, ZHANG Yin, LIU Runzheng, HUANG Xiaowei, MING Jinfa. Preparation and radiation refrigeration properties of polylactic acid fiber aerogel [J]. Journal of Textile Research, 2025, 46(06): 63-72.
[10] SHI Sheng, WANG Yazhou, WANG Shuhua, PANG Mingke, LI Xin, ZHANG Meiling, GAO Chengyong. Preparation of fluorinated waterborne polyurethane from waste polyester fibers by alcoholysis [J]. Journal of Textile Research, 2025, 46(06): 8-16.
[11] ZHANG Zeqi, ZHOU Tao, ZHOU Wenqi, FAN Zhongyao, YANG Jialei, CHEN Guoyin, PAN Shaowu, ZHU Meifang. Research progress in conductive fibers for electrophysiological signal monitoring [J]. Journal of Textile Research, 2025, 46(05): 70-76.
[12] WANG Biao, LI Yuan, DONG Jie, ZHANG Qinghua. Influences of stress in thermal imidization on structure and properties of polyimide fibers [J]. Journal of Textile Research, 2025, 46(03): 1-8.
[13] LIU Jinfeng, DU Kangcun, XIAO Chang, FU Shaohai, ZHANG Liping. Preparation of porous MXene/thermoplastic polyurethane fiber and its stress-strain sensing performance [J]. Journal of Textile Research, 2025, 46(03): 41-48.
[14] YUE Xinyan, SHAO Jianbo, WANG Xiaohu, HAN Xiao, ZHAO Xiaoman, HONG Jianhan. One-dimensional structured flexible capacitive sensors based on silver coated polyamide fiber/polyamide fiber/waterborne polyurethane composite yarns [J]. Journal of Textile Research, 2025, 46(03): 82-89.
[15] WANG Xiaoyan, YANG Shukang, XIAO Guowei, DU Jinmei, XU Changhai. Preparation and performance of photoresponsive long-afterglow phosphorescent fibers with spirooxazine doping [J]. Journal of Textile Research, 2025, 46(02): 1-9.
Viewed
Full text


Abstract

Cited

  Shared   
  Discussed   
No Suggested Reading articles found!